
Manual gearboxes aren’t extinct just yet, but the outlook isn’t great. Across the industry, the good ol’ stick shift is quietly vanishing. Even BMW’s M division has said outright that manuals probably won’t survive much longer.
However, a few automakers, like Ford, remain determined to keep the manual driving experience alive in some form. Porsche, on the other hand, has other ideas – a newly published patent in Germany suggests the Stuttgart-based automaker is exploring a system that lets a single car behave like both an automatic and a manual.
If this sounds familiar, it’s because Koenigsegg already tried something similar with the CC850. That car’s transmission can run as a multi-speed automatic or a gated manual. Porsche’s idea is in the same spirit, but the way they’re engineering it is completely different.
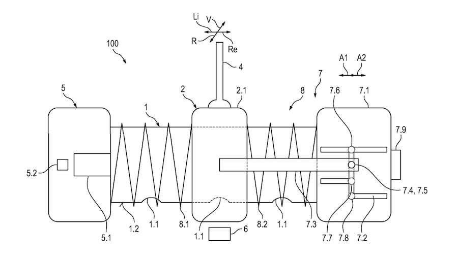
The patent, spotted by CarBuzz, describes a gear selector for shift-by-wire transmissions. In setups like this, the gear lever isn’t physically linked to the transmission. Instead, it just sends electronic signals to the drivetrain’s control system.
Porsche’s design uses a gear lever that moves in two directions. Moving the lever forward and backward rotates a shaft to select gears, while moving it left and right slides a mechanism sideways, much like an H-pattern manual gearbox.
Sensors track both types of movement. One sensor measures the rotational angle of the shaft, and another detects the sideways position of the mechanism. These signals tell the vehicle’s control system which gear or mode the driver wants to select.
The smart bit is a locking system for the sideways movement. Lock it, and the lever acts like a normal automatic. Unlock it, and you can move the lever across different gates, just like a manual H-pattern shifter.
Springs and electric motors add resistance and feedback, so the system can actually feel like you’re shifting real gears. In practice, this setup could let future Porsches deliver a manual-style driving experience, even if the transmission underneath is fully electronic or automated.
Of course, patents are just ideas on paper. Automakers file plenty of them that never make it to production, so there’s no promise this system will show up in a future Porsche.
Porsche’s concept might aim for the same goal as the Koenigsegg CC850, but the way each works is different.
Koenigsegg’s Engage Shift System is built right into the transmission. The CC850 uses a complex multi-clutch gearbox that can physically switch between a nine-speed automatic and a six-speed gated manual.
Porsche’s patent, on the other hand, focuses on the driver interface rather than the gearbox. The lever simulates manual shifting through electronic signals, meaning the transmission behind it could still be an automatic, dual-clutch unit, or even part of an electrified drivetrain.
So while Koenigsegg built a gearbox that really does both jobs, Porsche seems to be working on a shifter that can make almost any drivetrain feel like a manual.
If Porsche brings this to production, it could be a smart way to keep driver engagement alive at a time when real manuals are getting harder to justify. At the very least, it shows that some automakers still care about drivers who want to shift for themselves.
Verwandte Nachrichten