
The economics of today have hit the powersport industry hard, as many companies have scaled back their sales targets, reduced their headcounts through layoffs, and even cut whole portions out of their brands. And the latter is one that's affected many.
Polaris cut ties with Indian. KTM cut ties with MV Agusta. Harley has...basically disavowed LiveWire. And Bombardier Recreational Products (BRP), the folks who build Can-Ams, Ski-Doos, and Sea-Doos, cut its losses on its boat brands to supposedly focus on just its PWC market. Indeed, that announcement wasn't all that long ago, and the brand quickly sold off its boating businesses to clear the ledger.
So color me surprised when I went trolling (get it?) through the US Patent Office's applications and found this rather glaring boat omission to that supposed cancellation. Um, does someone want to explain why BRP is patenting what is clearly a pontoon boat?
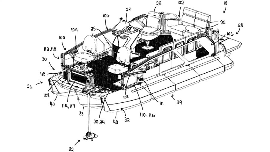
As you can see from the patent drawings, it's a pontoon boat, the sort you'd see on every lake during a Midwest summer, loaded to the gills with party-goers and stale beer. That's not a knock, either, I'm a big fan of pontoons and hitting the water. Mostly to fish, however. But it's an interesting thing for BRP to patent after making such a big stink about leaving the boat business behind.
The title of the patent states that it's a design for a "Wall for a Watercraft and Watercraft Having the Same," which basically means that it's both a patent for a particular part, in this case the surrounding walls of the pontoon, and the pontoon itself. As for the part BRP describes, the idea is that the traditional fixed walls of a pontoon can make it difficult for certain recreational activities, i.e., fishing or swimming, and that a hinged wall is a better application.
Indeed, the patent's background description states, "Pontoons are a popular watercraft known for their stability, spacious deck layouts, and suitability for a variety of recreational activities. It is common to provide a pontoon with a general that includes built-in seating within a deck area that is enclosed by walls equipped with handrails. However, this layout poses challenges for fishing enthusiasts. Specifically, the built-in seating and surrounding walls obstruct easy access to the water, making it difficult to cast lines and retrieve catches effectively. This limitation has prompted various design modifications aimed at enhancing the passengers' experiences on pontoons."
But while a hinged wall makes a ton of sense, and is pretty cool in itself, why is BRP patenting a boat? Again, it just left the boating industry behind with some very public sales of its business. Is the company planning on getting back into boats with this pontoon design? Honestly, we've got no clue, but I didn't have a new likely Sea-Doo-branded boat on my 2026 bingo card.